请使用手机微信扫码安全登录

切换账号密码登录

绑定手机号

应国家法规对于账号实名的要求,请您在进行下一步操作前,需要先完成手机绑定 (若绑定失败,请重新登录绑定)。了解更多

不绑定绑定手机号

360官网 | 360商城

推荐论坛版块360粉丝商城360用户活动常见问题

360社区

360社区
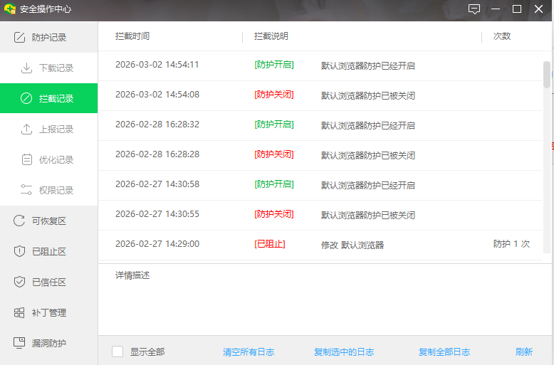
每天开机都得手动关闭重新设置默认浏览器,系统里面设置的Microsoft Edge默认浏览器,一开机就被重置为360,360安全卫士安全防护中心浏览器防护体系也设置了锁定Microsoft Edge默认浏览器,但是没用,第二天开机又变成360了,锁了个寂寞!360浏览器我也关闭了默认浏览器,不行,第二天开机又作妖

360社区

360社区


共 1 个关于每日开机自动变更默认浏览器为360浏览器的回复 最后回复于 2026-3-2 17:39

评论

直达楼层

leo0205 产品答疑师 发表于 2026-3-2 17:39 | 显示全部楼层 | 私信

IP属地: 未知

您好,您加下我的微信,我帮您看下具体的问题

360社区

360社区

您需要登录后才可以回帖 登录 | 注册

本版积分规则

無颜独上西楼 LV2.下士

粉丝:0 关注:0 积分:32

精华:0 金币:81 经验:30

IP属地: 未知

最后登录时间:2026-3-3

私信 加好友

最新活动

“AI”赴江湖 从此有新说!

排行榜

热度排行 查看排行
本月
    本月

      扫码添加360客服号,涨知识的同时还有超多福利等你哦

      快速回复 返回顶部 返回列表