请使用手机微信扫码安全登录

切换账号密码登录

绑定手机号

应国家法规对于账号实名的要求,请您在进行下一步操作前,需要先完成手机绑定 (若绑定失败,请重新登录绑定)。了解更多

不绑定绑定手机号

360官网 | 360商城

推荐论坛版块360粉丝商城360用户活动常见问题

我的天啊

2025-3-16 21:16 | 复制链接
1 843

360社区

360社区

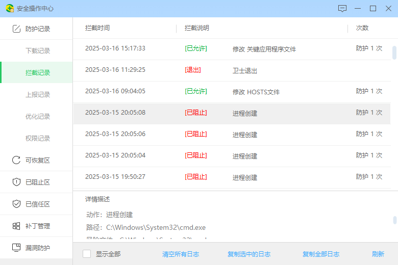
我昨天玩了一下别人发的一个游戏.然后使用了某个道具就弹出拦截窗口,后来我把它放到VM虚拟机运行了一下,结果发现电脑直接开不了机了,360帮我抵御了一次毫无防备的攻击,太感谢了🙏🙏,以后360还是要常驻,防护全开

共 1 个关于我的天啊的回复 最后回复于 2025-3-16 23:55

评论

直达楼层

瞿小凯 VIP认证 版主 发表于 2025-3-16 23:55 | 显示全部楼层 | 私信

IP属地: 四川省

对的,游戏类的恶意一直以来都是很多的,有一些是可以看得到的明显感染,也有一些是潜伏的恶意,感谢支持
您需要登录后才可以回帖 登录 | 注册

本版积分规则

花院长baby LV4.上士

粉丝:0 关注:0 积分:729

精华:0 金币:1994 经验:644

IP属地: 四川省

最后登录时间:2025-11-7

私信 加好友

最新活动

纳智成篇,听你所想| 山城共话产品未来!36

排行榜

热度排行 查看排行
本月
    本月

      扫码添加360客服号,涨知识的同时还有超多福利等你哦

      快速回复 返回顶部 返回列表