请使用手机微信扫码安全登录

切换账号密码登录

绑定手机号

应国家法规对于账号实名的要求,请您在进行下一步操作前,需要先完成手机绑定 (若绑定失败,请重新登录绑定)。了解更多

不绑定绑定手机号

360官网 | 360商城

推荐论坛版块360粉丝商城360用户活动常见问题

360社区

360社区

时间        操作        说明        次数
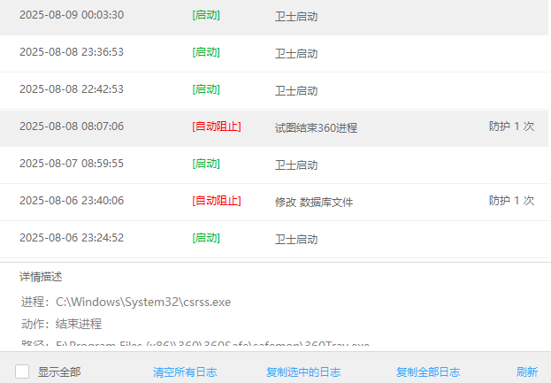
2025-08-08 08:07:06        [自动阻止]          试图结束360进程        防护 1 次
详细描述:
进程:C:\Windows\System32\csrss.exe
动作:结束进程
路径:E:\Program Files (x86)\360\360Safe\safemon\360Tray.exe
防护信息: AD|43, 0|-1, -1, -1||

目前为止没有复现过,已经使用360安全卫士和急救箱强力查杀过了,没有扫描出问题。
所以为什么csrss.exe会试图结束360进程?我是不是遇到了什么潜在风险?

共 1 个关于为什么csrss.exe会试图结束360进程?的回复 最后回复于 2025-8-9 11:26

评论

直达楼层

golden7 产品答疑师 发表于 2025-8-9 11:26 | 显示全部楼层 | 私信

IP属地: 未知

本帖最后由 golden7 于 2025-8-9 11:29 编辑
可以加 工作人员企业微信帮您看下

360社区

360社区

leo0205 产品答疑师 回复360fans_GEI3NA:相关添加均已通过了,您微信是多少,我让工程师加下您 
2025-8-11 11:26回复

IP属地: 未知

360fans_43659299 LV2.下士 加3天了加不上啊 
2025-8-11 10:42回复

IP属地: 河北省

您需要登录后才可以回帖 登录 | 注册

本版积分规则

360fans_43659299 LV2.下士

粉丝:0 关注:0 积分:22

精华:0 金币:46 经验:18

IP属地: 局域网

最后登录时间:2025-8-16

私信 加好友

最新活动

【360文库创作大赛开启】参赛赢大疆Pocket3

排行榜

热度排行 查看排行
本月
    本月

      扫码添加360客服号,涨知识的同时还有超多福利等你哦

      快速回复 返回顶部 返回列表