请使用手机微信扫码安全登录

切换账号密码登录

绑定手机号

应国家法规对于账号实名的要求,请您在进行下一步操作前,需要先完成手机绑定 (若绑定失败,请重新登录绑定)。了解更多

不绑定绑定手机号

360官网 | 360商城

推荐论坛版块360粉丝商城360用户活动常见问题
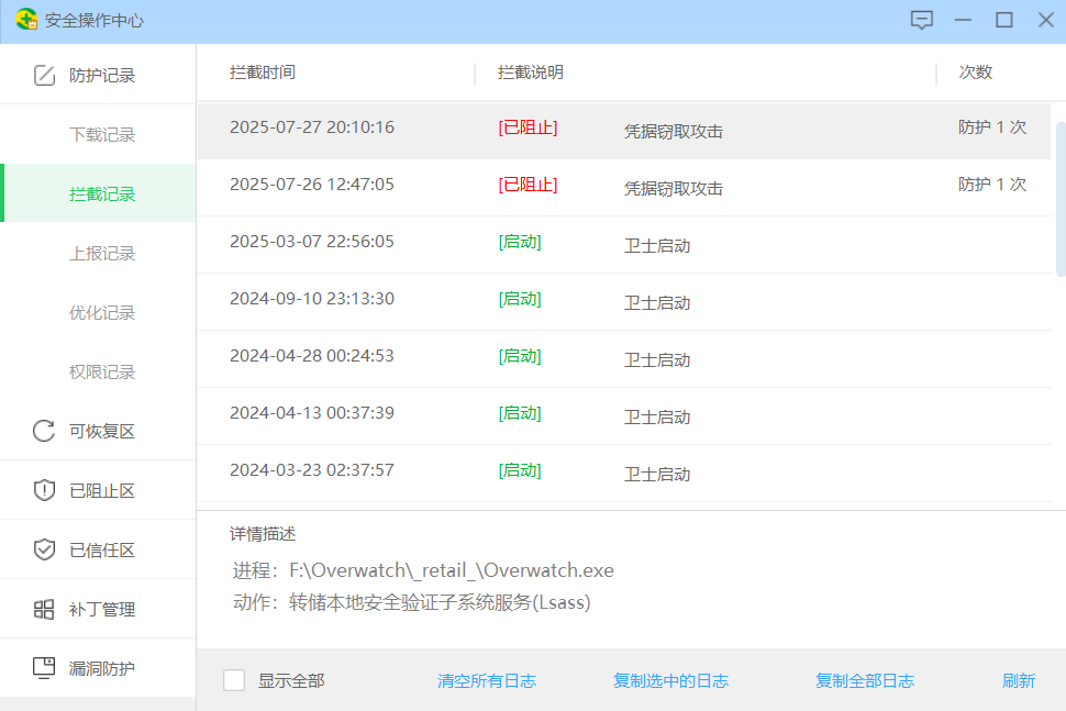
这几天每次退出Overwatch游戏就会报这个

360社区

360社区

共 2 个关于凭据窃取攻击 动作:转储本地安全验证子系统服务(Lsass)的回复 最后回复于 2025-7-28 11:26

评论

直达楼层

瞿小凯 VIP认证 版主 发表于 2025-7-27 22:19 | 显示全部楼层 | 私信

IP属地: 四川省

守望先锋相关误报问题周一我们看看
leo0205 产品答疑师 发表于 2025-7-28 11:26 | 显示全部楼层 | 私信

IP属地: 未知

您好,您把这个文件,还有360safe文件夹ipc文件夹中的galaxy.dat galaxy2.dat 这两个文件,一起上传到附件中,我们让技术看下
您需要登录后才可以回帖 登录 | 注册

本版积分规则

360fans_8265366 LV3.中士

粉丝:3 关注:0 积分:247

精华:0 金币:479 经验:237

IP属地: 局域网

最后登录时间:2025-8-21

私信 加好友

最新活动

【360文库创作大赛开启】参赛赢大疆Pocket3

排行榜

热度排行 查看排行
本月
    本月

      扫码添加360客服号,涨知识的同时还有超多福利等你哦

      快速回复 返回顶部 返回列表