请使用手机微信扫码安全登录
绑定手机号
应国家法规对于账号实名的要求,请您在进行下一步操作前,需要先完成手机绑定 (若绑定失败,请重新登录绑定)。了解更多
不绑定绑定手机号
请悉知
应国家法规对于账号实名的要求,如不绑定手机号,则只能浏览论坛,无法进行发帖、评论、回复、点赞等相关操作 (若绑定失败,请重新登录绑定)。了解更多
确定绑定手机号
反馈360产品问题,请点击这里
360官网 | 360商城
登录 注册
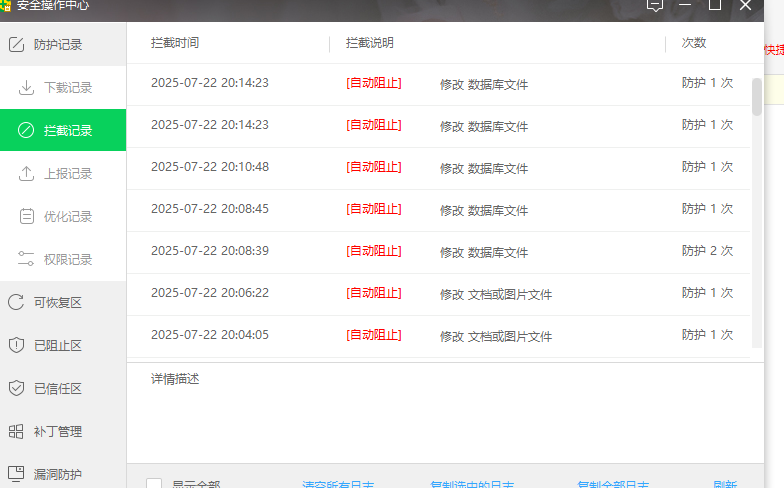
屏幕截图 2025-07-20 220329.png (63.06 KB)
下载附件
360社区
2025-7-22 20:17 上传
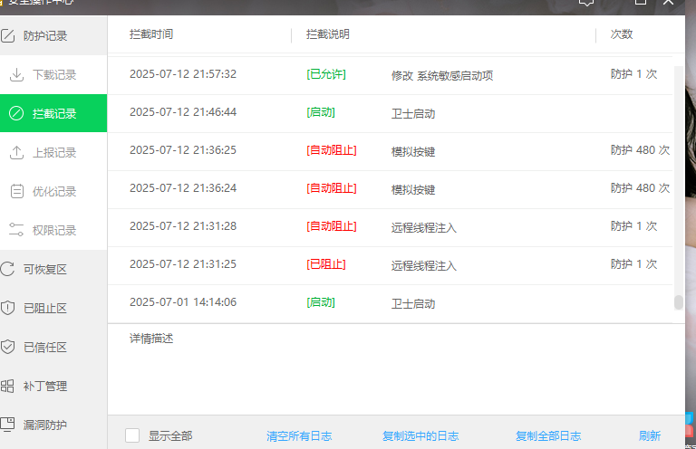
屏幕截图 2025-07-22 201810.png (57.61 KB)
2025-7-22 20:18 上传
评论
直达楼层
粉丝: 17 关注: 0 积分: 8833
精华: 12 金币: 11764 经验: 6034
最后登录 2025-12-26
IP属地: 四川省
本版积分规则 发表回复 回帖后跳转到最后一页
360忠实老用户
1505-A01
心_飞扬gg LV2.下士
粉丝:0 关注:0 积分:85
精华:0 金币:375 经验:79
最后登录时间:2025-9-30
私信 加好友
心_飞扬gg
粉丝:0 关注:0
私信
点击复制本帖链接
微信扫一扫
评论
直达楼层