请使用手机微信扫码安全登录

切换账号密码登录

绑定手机号

应国家法规对于账号实名的要求,请您在进行下一步操作前,需要先完成手机绑定 (若绑定失败,请重新登录绑定)。了解更多

不绑定绑定手机号

360官网 | 360商城

推荐论坛版块360粉丝商城360用户活动常见问题

360社区

360社区
你都给自动允许了,还防护个寂寞?
已经升级了BETA,打开了远控急救按钮,一点作用没有,天天模拟点击
-------------------------------------
时间        操作        说明        次数
2025-07-09 17:06:33        [自动允许]          ui automation模拟点击        防护 1 次
详细描述:
进程:C:\Windows\explorer.exe (1)
动作:UI Automation模拟按键
目标窗口:00a6089c
目标窗口类:
目标进程:unknown
--------------------
时间        操作        说明        次数
2025-07-09 17:05:45        [自动允许]          ui automation模拟点击        防护 1 次
详细描述:
进程:C:\Windows\explorer.exe (1)
动作:UI Automation模拟按键
目标窗口:000d09ea
目标窗口类:
目标进程:unknown


共 4 个关于360安全一点也不安全,睡大觉的回复 最后回复于 2025-7-11 10:48

评论

直达楼层

leo0205 产品答疑师 发表于 2025-7-10 10:22 | 显示全部楼层 | 私信

IP属地: 未知

您好,这个是因为explorer是一个白文件,所以放行了,您放心不会影响您的电脑安全
渔舟唱晚一片荷 LV2.下士 楼主 发表于 2025-7-11 10:43 | 显示全部楼层 | 私信

IP属地: 山东省

那这个模拟点击无视即可?为什么会有模拟点击,点击了什么内容
渔舟唱晚一片荷 LV2.下士 楼主 发表于 2025-7-11 10:47 | 显示全部楼层 | 私信

IP属地: 山东省


360社区

360社区
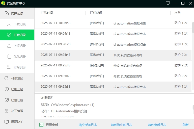
模拟点击被360自动允许,修改敏感启动项被360又自动允许,那你拦截空气了
-------------------------------
时间        操作        说明        次数
2025-07-11 10:06:53        [自动允许]          ui automation模拟点击        防护 1 次
详细描述:
进程:C:\Windows\explorer.exe (1)
动作:UI Automation模拟按键
目标窗口:002f01e2
目标窗口类:
目标进程:unknown
2025-07-11 09:54:13        [自动允许]          ui automation模拟点击        防护 1 次
详细描述:
进程:C:\Windows\explorer.exe (1)
动作:UI Automation模拟按键
目标窗口:001704ee
目标窗口类:
目标进程:unknown
2025-07-11 09:28:28        [自动允许]          ui automation模拟点击        防护 1 次
详细描述:
进程:C:\Windows\explorer.exe (1)
动作:UI Automation模拟按键
目标窗口:001706f6
目标窗口类:
目标进程:unknown
2025-07-11 09:25:43        [自动允许]          修改 系统敏感启动项        防护 2 次
详细描述:
注册表位置:HKEY_LOCAL_MACHINE\SOFTWARE\CLASSES\WOW6432NODE\CLSID\{D7AC9243-9D84-4498-8192-D7AD263B63C8}\INPROCSERVER32\[]
注册表内容:C:\Users\Administrator\AppData\Roaming\Kingsoft\wps\addons\pool\win-i386\pdfwspv_3.1.0.19020\pdfwspv.dll
进程:C:\Windows\SysWOW64\regsvr32.exe
父进程:D:\WPS Office\12.1.0.21915\office6\ksomisc.exe , (0)
防护信息: RD|53, 1447|10, 10, 10|||
2025-07-11 09:25:43        [自动允许]          修改 系统敏感启动项        防护 2 次
详细描述:
注册表位置:HKEY_CURRENT_USER\Software\Classes\WOW6432NODE\CLSID\{D7AC9243-9D84-4498-8192-D7AD263B63C8}\INPROCSERVER32\[]
注册表内容:C:\Users\Administrator\AppData\Roaming\Kingsoft\wps\addons\pool\win-i386\pdfwspv_3.1.0.19020\pdfwspv.dll
进程:C:\Windows\SysWOW64\regsvr32.exe
父进程:D:\WPS Office\12.1.0.21915\office6\ksomisc.exe , (0)
防护信息: RD|53, 1448|10, 10, 10|||
2025-07-11 09:25:43        [自动允许]          修改 系统敏感启动项        防护 2 次
详细描述:
注册表位置:HKEY_CURRENT_USER\Software\Classes\WOW6432NODE\CLSID\{D5A42435-00FB-427E-ADE7-B753DEF2E9D7}\LOCALSERVER32\[]
注册表内容:C:\Users\Administrator\AppData\Roaming\Kingsoft\wps\addons\pool\win-i386\pdfwspv_3.1.0.19020\pdfwspv.dll
进程:C:\Windows\SysWOW64\regsvr32.exe
父进程:D:\WPS Office\12.1.0.21915\office6\ksomisc.exe , (0)
防护信息: RD|53, 800|10, 10, 10|||
2025-07-11 09:25:33        [自动允许]          ui automation模拟点击        防护 1 次
详细描述:
进程:C:\Windows\explorer.exe (1)
动作:UI Automation模拟按键
目标窗口:00070480
目标窗口类:
目标进程:unknown
2025-07-11 09:09:20        [自动允许]          修改 系统运行的重要文件        防护 1 次
详细描述:
进程:C:\Program Files (x86)\Mozilla Maintenance Service\maintenanceservice_tmp.exe
动作:修改
路径:C:\Program Files (x86)\Mozilla Maintenance Service\maintenanceservice.exe
不再提醒(0x68706440)
防护信息: FD|17, 544|10, 10, 10|||
2025-07-11 09:09:17        [自动允许]          修改 系统运行的重要文件        防护 1 次
详细描述:
进程:C:\Program Files\Mozilla Firefox\updater.exe.moz-backup
动作:写入
路径:C:\Program Files\Mozilla Firefox\firefox.exe
不再提醒(0x6870643d)
防护信息: FD|17, 544|10, 10, -1|||
2025-07-11 09:09:16        [自动允许]          修改 系统运行的重要文件        防护 1 次
详细描述:
进程:C:\Program Files\Mozilla Firefox\updater.exe.moz-backup
动作:写入
路径:C:\Program Files\Mozilla Firefox\mozwer.dll
不再提醒(0x6870643c)
防护信息: FD|17, 544|10, 10, -1|||
2025-07-11 09:08:29        [自动允许]          驱动加载        防护 2 次
详细描述:
进程:C:\WINDOWS\System32\services.exe
动作:驱动加载
路径:C:\WINDOWS\System32\drivers\360disproc64.sys
2025-07-11 08:27:54        [自动允许]          ui automation模拟点击        防护 1 次
详细描述:
进程:C:\Windows\explorer.exe (1)
动作:UI Automation模拟按键
目标窗口:00040668
目标窗口类:
目标进程:unknown
2025-07-10 14:43:35        [自动允许]          修改 系统关键设置        防护 1 次
详细描述:
注册表位置:HKEY_LOCAL_MACHINE\SAM\SAM\DOMAINS\ACCOUNT\USERS\000001F4\[F]
注册表内容:02 00 01 00 00 00 00 00 F8 A9 F8 F5 65 F1 DB 01 00 00 00 00 00 00 00 00 9A F8 D3 E0 42 19 DA 01 00 00 00 00 00 00 00 00 03 B3 DD 49 2B F1 DB 01 F4 01 00 00 01 02 00 00 10 02 00 00 00 00 00 00 00 00 65 11 01 00 00 00 00 00 00 00 00 00 00 00
进程:C:\WINDOWS\System32\lsass.exe
父进程: , (0)
防护信息: RD|80, 1158|-1, 10, -1|||
2025-07-10 14:14:38        [自动允许]          驱动加载        防护 2 次
详细描述:
进程:C:\WINDOWS\System32\services.exe
动作:驱动加载
路径:C:\WINDOWS\System32\drivers\360disproc64.sys
2025-07-10 14:05:54        [自动允许]          修改 系统关键设置        防护 1 次
详细描述:
注册表位置:HKEY_LOCAL_MACHINE\SAM\SAM\DOMAINS\ACCOUNT\USERS\000001F4\[F]
注册表内容:02 00 01 00 00 00 00 00 A1 25 68 B2 60 F1 DB 01 00 00 00 00 00 00 00 00 9A F8 D3 E0 42 19 DA 01 00 00 00 00 00 00 00 00 03 B3 DD 49 2B F1 DB 01 F4 01 00 00 01 02 00 00 10 02 00 00 00 00 00 00 00 00 64 11 01 00 00 00 00 00 00 00 00 00 00 00
进程:C:\WINDOWS\System32\lsass.exe
父进程: , (0)
防护信息: RD|80, 1158|-1, 10, -1|||
2025-07-10 12:12:43        [自动允许]          修改 系统关键设置        防护 1 次
详细描述:
注册表位置:HKEY_LOCAL_MACHINE\SAM\SAM\DOMAINS\ACCOUNT\USERS\000001F4\[F]
注册表内容:02 00 01 00 00 00 00 00 76 40 B3 E2 50 F1 DB 01 00 00 00 00 00 00 00 00 9A F8 D3 E0 42 19 DA 01 00 00 00 00 00 00 00 00 03 B3 DD 49 2B F1 DB 01 F4 01 00 00 01 02 00 00 10 02 00 00 00 00 00 00 00 00 63 11 01 00 00 00 00 00 00 00 00 00 00 00
进程:C:\WINDOWS\System32\lsass.exe
父进程: , (0)
防护信息: RD|80, 1158|-1, 10, -1|||
2025-07-10 11:50:28        [自动允许]          修改 系统关键设置        防护 1 次
详细描述:
注册表位置:HKEY_LOCAL_MACHINE\SAM\SAM\DOMAINS\ACCOUNT\USERS\000001F4\[F]
注册表内容:02 00 01 00 00 00 00 00 8E BE C6 C6 4D F1 DB 01 00 00 00 00 00 00 00 00 9A F8 D3 E0 42 19 DA 01 00 00 00 00 00 00 00 00 03 B3 DD 49 2B F1 DB 01 F4 01 00 00 01 02 00 00 10 02 00 00 00 00 00 00 00 00 62 11 01 00 00 00 00 00 00 00 00 00 00 00
进程:C:\WINDOWS\System32\lsass.exe
父进程: , (0)
防护信息: RD|80, 1158|-1, 10, -1|||
2025-07-10 10:08:42        [自动允许]          ui automation模拟点击        防护 1 次
详细描述:
进程:C:\Windows\explorer.exe (1)
动作:UI Automation模拟按键
目标窗口:0005075c
目标窗口类:
目标进程:unknown
2025-07-10 10:07:48        [自动允许]          修改 系统敏感启动项        防护 2 次
详细描述:
注册表位置:HKEY_LOCAL_MACHINE\SOFTWARE\CLASSES\WOW6432NODE\CLSID\{D7AC9243-9D84-4498-8192-D7AD263B63C8}\INPROCSERVER32\[]
注册表内容:C:\Users\Administrator\AppData\Roaming\Kingsoft\wps\addons\pool\win-i386\pdfwspv_3.1.0.19020\pdfwspv.dll
进程:C:\Windows\SysWOW64\regsvr32.exe
父进程:D:\WPS Office\12.1.0.21915\office6\ksomisc.exe , (0)
防护信息: RD|53, 1447|10, 10, 10|||
2025-07-10 10:07:48        [自动允许]          修改 系统敏感启动项        防护 2 次
详细描述:
注册表位置:HKEY_CURRENT_USER\Software\Classes\WOW6432NODE\CLSID\{D7AC9243-9D84-4498-8192-D7AD263B63C8}\INPROCSERVER32\[]
注册表内容:C:\Users\Administrator\AppData\Roaming\Kingsoft\wps\addons\pool\win-i386\pdfwspv_3.1.0.19020\pdfwspv.dll
进程:C:\Windows\SysWOW64\regsvr32.exe
父进程:D:\WPS Office\12.1.0.21915\office6\ksomisc.exe , (0)
防护信息: RD|53, 1448|10, 10, 10|||
2025-07-10 10:07:48        [自动允许]          修改 系统敏感启动项        防护 2 次
详细描述:
注册表位置:HKEY_CURRENT_USER\Software\Classes\WOW6432NODE\CLSID\{D5A42435-00FB-427E-ADE7-B753DEF2E9D7}\LOCALSERVER32\[]
注册表内容:C:\Users\Administrator\AppData\Roaming\Kingsoft\wps\addons\pool\win-i386\pdfwspv_3.1.0.19020\pdfwspv.dll
进程:C:\Windows\SysWOW64\regsvr32.exe
父进程:D:\WPS Office\12.1.0.21915\office6\ksomisc.exe , (0)
防护信息: RD|53, 800|10, 10, 10|||
2025-07-10 10:00:04        [自动允许]          ui automation模拟点击        防护 1 次
详细描述:
进程:C:\Windows\explorer.exe (1)
动作:UI Automation模拟按键
目标窗口:001205ea
目标窗口类:
目标进程:unknown
2025-07-10 09:49:52        [自动允许]          修改 系统关键设置        防护 1 次
详细描述:
注册表位置:HKEY_LOCAL_MACHINE\SAM\SAM\DOMAINS\ACCOUNT\USERS\000001F4\[F]
注册表内容:02 00 01 00 00 00 00 00 66 2D 79 ED 3C F1 DB 01 00 00 00 00 00 00 00 00 9A F8 D3 E0 42 19 DA 01 00 00 00 00 00 00 00 00 03 B3 DD 49 2B F1 DB 01 F4 01 00 00 01 02 00 00 10 02 00 00 00 00 00 00 00 00 61 11 01 00 00 00 00 00 00 00 00 00 00 00
进程:C:\WINDOWS\System32\lsass.exe
父进程: , (0)
防护信息: RD|80, 1158|-1, 10, -1|||
2025-07-10 09:14:12        [自动允许]          ui automation模拟点击        防护 1 次
详细描述:
进程:C:\Windows\explorer.exe (1)
动作:UI Automation模拟按键
目标窗口:001a01b2
目标窗口类:
目标进程:unknown
2025-07-10 08:33:30        [自动允许]          ui automation模拟点击        防护 1 次
详细描述:
进程:C:\Windows\explorer.exe (1)
动作:UI Automation模拟按键
目标窗口:00030414
目标窗口类:
目标进程:unknown
2025-07-09 18:02:14        [自动允许]          修改 系统敏感启动项        防护 1 次
详细描述:
注册表位置:HKEY_LOCAL_MACHINE\SOFTWARE\CLASSES\WOW6432NODE\CLSID\{D7AC9243-9D84-4498-8192-D7AD263B63C8}\INPROCSERVER32\[]
注册表内容:C:\Users\Administrator\AppData\Roaming\Kingsoft\wps\addons\pool\win-i386\pdfwspv_3.1.0.19020\pdfwspv.dll
进程:C:\Windows\SysWOW64\regsvr32.exe
父进程:D:\WPS Office\12.1.0.21915\office6\ksomisc.exe , (0)
防护信息: RD|53, 1447|10, 10, 10|||
2025-07-09 18:02:14        [自动允许]          修改 系统敏感启动项        防护 1 次
详细描述:
注册表位置:HKEY_CURRENT_USER\Software\Classes\WOW6432NODE\CLSID\{D7AC9243-9D84-4498-8192-D7AD263B63C8}\INPROCSERVER32\[]
注册表内容:C:\Users\Administrator\AppData\Roaming\Kingsoft\wps\addons\pool\win-i386\pdfwspv_3.1.0.19020\pdfwspv.dll
进程:C:\Windows\SysWOW64\regsvr32.exe
父进程:D:\WPS Office\12.1.0.21915\office6\ksomisc.exe , (0)
防护信息: RD|53, 1448|10, 10, 10|||
2025-07-09 18:02:14        [自动允许]          修改 系统敏感启动项        防护 1 次
详细描述:
注册表位置:HKEY_CURRENT_USER\Software\Classes\WOW6432NODE\CLSID\{D5A42435-00FB-427E-ADE7-B753DEF2E9D7}\LOCALSERVER32\[]
注册表内容:C:\Users\Administrator\AppData\Roaming\Kingsoft\wps\addons\pool\win-i386\pdfwspv_3.1.0.19020\pdfwspv.dll
进程:C:\Windows\SysWOW64\regsvr32.exe
父进程:D:\WPS Office\12.1.0.21915\office6\ksomisc.exe , (0)
防护信息: RD|53, 800|10, 10, 10|||
2025-07-09 17:58:04        [自动允许]          ui automation模拟点击        防护 1 次
详细描述:
进程:C:\Windows\explorer.exe (1)
动作:UI Automation模拟按键
目标窗口:005108f2
目标窗口类:
目标进程:unknown
2025-07-09 17:58:01        [自动允许]          ui automation模拟点击        防护 1 次
详细描述:
进程:C:\Windows\explorer.exe (1)
动作:UI Automation模拟按键
目标窗口:000105b6
目标窗口类:
目标进程:unknown
2025-07-09 17:06:33        [自动允许]          ui automation模拟点击        防护 1 次
详细描述:
进程:C:\Windows\explorer.exe (1)
动作:UI Automation模拟按键
目标窗口:00a6089c
目标窗口类:
目标进程:unknown
2025-07-09 17:05:45        [自动允许]          ui automation模拟点击        防护 1 次
详细描述:
进程:C:\Windows\explorer.exe (1)
动作:UI Automation模拟按键
目标窗口:000d09ea
目标窗口类:
目标进程:unknown
2025-07-09 16:51:19        [自动允许]          ui automation模拟点击        防护 1 次
详细描述:
进程:C:\Windows\explorer.exe (1)
动作:UI Automation模拟按键
目标窗口:001209ee
目标窗口类:
目标进程:unknown
2025-07-09 16:40:35        [自动允许]          驱动加载        防护 4 次
详细描述:
进程:C:\WINDOWS\System32\services.exe
动作:驱动加载
路径:C:\WINDOWS\System32\drivers\360disproc64.sys
2025-07-09 16:26:03        [自动允许]          修改 系统关键设置        防护 1 次
详细描述:
注册表位置:HKEY_LOCAL_MACHINE\SAM\SAM\DOMAINS\ACCOUNT\USERS\000001F4\[F]
注册表内容:02 00 01 00 00 00 00 00 F1 C8 4F 1C AB F0 DB 01 00 00 00 00 00 00 00 00 9A F8 D3 E0 42 19 DA 01 00 00 00 00 00 00 00 00 5F 53 03 15 AB F0 DB 01 F4 01 00 00 01 02 00 00 10 02 00 00 00 00 00 00 00 00 5F 11 01 00 00 00 00 00 00 00 00 00 00 00
进程:C:\WINDOWS\System32\lsass.exe
父进程: , (0)
防护信息: RD|80, 1158|-1, 10, -1|||
2025-07-09 16:25:51        [自动允许]          修改 系统关键设置        防护 1 次
详细描述:
注册表位置:HKEY_LOCAL_MACHINE\SAM\SAM\DOMAINS\ACCOUNT\USERS\000001F4\[F]
注册表内容:02 00 01 00 00 00 00 00 81 E7 4E F4 96 F0 DB 01 00 00 00 00 00 00 00 00 9A F8 D3 E0 42 19 DA 01 00 00 00 00 00 00 00 00 5F 53 03 15 AB F0 DB 01 F4 01 00 00 01 02 00 00 10 02 00 00 00 00 00 00 01 00 5E 11 01 00 00 00 00 00 00 00 00 00 00 00
进程:C:\WINDOWS\System32\lsass.exe
父进程: , (0)
防护信息: RD|80, 1158|-1, 10, -1|||
2025-07-09 14:37:22        [自动允许]          修改 Windows防火墙        防护 1 次
详细描述:
注册表位置:HKEY_LOCAL_MACHINE\SYSTEM\CurrentControlSet\SERVICES\SHAREDACCESS\PARAMETERS\FIREWALLPOLICY\FIREWALLRULES\[{4994BDA0-A43D-48D3-A398-9382A39B49A8}]
注册表内容:v2.30|Action=Allow|Active=TRUE|Dir=In|Protocol=17|Profile=Private|App=C:\Program Files (x86)\360\360Safe\Utils\360UHelper.exe|Name=360UHelper.exe|
进程:C:\WINDOWS\System32\svchost.exe
父进程: , (0)
防护信息: RD|52, 1460|-1, 10, -1|||
2025-07-09 14:37:22        [自动允许]          修改 Windows防火墙        防护 1 次
详细描述:
注册表位置:HKEY_LOCAL_MACHINE\SYSTEM\CurrentControlSet\SERVICES\SHAREDACCESS\PARAMETERS\FIREWALLPOLICY\FIREWALLRULES\[{760FD74E-AC56-4873-8840-C46009EDE244}]
注册表内容:v2.30|Action=Allow|Active=TRUE|Dir=In|Protocol=6|Profile=Private|App=C:\Program Files (x86)\360\360Safe\Utils\360UHelper.exe|Name=360UHelper.exe|
进程:C:\WINDOWS\System32\svchost.exe
父进程: , (0)
防护信息: RD|52, 1460|-1, 10, -1|||
2025-07-09 14:01:47        [自动允许]          修改 系统关键设置        防护 1 次
详细描述:
注册表位置:HKEY_LOCAL_MACHINE\SAM\SAM\DOMAINS\ACCOUNT\USERS\000001F4\[F]
注册表内容:02 00 01 00 00 00 00 00 81 E7 4E F4 96 F0 DB 01 00 00 00 00 00 00 00 00 9A F8 D3 E0 42 19 DA 01 00 00 00 00 00 00 00 00 A9 7A 19 C7 69 F0 DB 01 F4 01 00 00 01 02 00 00 10 02 00 00 00 00 00 00 00 00 5E 11 01 00 00 00 00 00 00 00 00 00 00 00
进程:C:\WINDOWS\System32\lsass.exe
父进程: , (0)
防护信息: RD|80, 1158|-1, 10, -1|||
2025-07-09 12:18:14        [自动允许]          修改 系统关键设置        防护 1 次
详细描述:
注册表位置:HKEY_LOCAL_MACHINE\SAM\SAM\DOMAINS\ACCOUNT\USERS\000001F4\[F]
注册表内容:02 00 01 00 00 00 00 00 0F 82 79 7D 88 F0 DB 01 00 00 00 00 00 00 00 00 9A F8 D3 E0 42 19 DA 01 00 00 00 00 00 00 00 00 A9 7A 19 C7 69 F0 DB 01 F4 01 00 00 01 02 00 00 10 02 00 00 00 00 00 00 00 00 5D 11 01 00 00 00 00 00 00 00 00 00 00 00
进程:C:\WINDOWS\System32\lsass.exe
父进程: , (0)
防护信息: RD|80, 1158|-1, 10, -1|||
2025-07-09 12:10:57        [自动允许]          ui automation模拟点击        防护 1 次
详细描述:
进程:C:\Windows\explorer.exe (1)
动作:UI Automation模拟按键
目标窗口:00cd0450
目标窗口类:
目标进程:unknown
2025-07-09 12:10:20        [已阻止]          拦截截屏操作        防护 1 次
详细描述:
进程:D:\WeChat\WeChat.exe
动作:拦截截屏操作
路径:
防护信息: AD|102, 1153|10, -1, -1||
2025-07-09 11:43:30        [已阻止]          拦截模拟键盘        防护 1 次
详细描述:
进程:C:\Users\Administrator\AppData\Roaming\Tencent\WeChat\XPlugin\Plugins\RadiumWMPF\14185\extracted\runtime\WeChatAppEx.exe
动作:拦截模拟键盘
路径:
防护信息: AD|103, 1157|10, -1, -1||

渔舟唱晚一片荷 LV2.下士 楼主 发表于 2025-7-11 10:48 | 显示全部楼层 | 私信

IP属地: 山东省

时间        操作        说明        次数
2025-07-11 10:06:53        [自动允许]          ui automation模拟点击        防护 1 次
详细描述:
进程:C:\Windows\explorer.exe (1)
动作:UI Automation模拟按键
目标窗口:002f01e2
目标窗口类:
目标进程:unknown
2025-07-11 09:54:13        [自动允许]          ui automation模拟点击        防护 1 次
详细描述:
进程:C:\Windows\explorer.exe (1)
动作:UI Automation模拟按键
目标窗口:001704ee
目标窗口类:
目标进程:unknown
2025-07-11 09:28:28        [自动允许]          ui automation模拟点击        防护 1 次
详细描述:
进程:C:\Windows\explorer.exe (1)
动作:UI Automation模拟按键
目标窗口:001706f6
目标窗口类:
目标进程:unknown
2025-07-11 09:25:43        [自动允许]          修改 系统敏感启动项        防护 2 次
详细描述:
注册表位置:HKEY_LOCAL_MACHINE\SOFTWARE\CLASSES\WOW6432NODE\CLSID\{D7AC9243-9D84-4498-8192-D7AD263B63C8}\INPROCSERVER32\[]
注册表内容:C:\Users\Administrator\AppData\Roaming\Kingsoft\wps\addons\pool\win-i386\pdfwspv_3.1.0.19020\pdfwspv.dll
进程:C:\Windows\SysWOW64\regsvr32.exe
父进程:D:\WPS Office\12.1.0.21915\office6\ksomisc.exe , (0)
防护信息: RD|53, 1447|10, 10, 10|||
2025-07-11 09:25:43        [自动允许]          修改 系统敏感启动项        防护 2 次
详细描述:
注册表位置:HKEY_CURRENT_USER\Software\Classes\WOW6432NODE\CLSID\{D7AC9243-9D84-4498-8192-D7AD263B63C8}\INPROCSERVER32\[]
注册表内容:C:\Users\Administrator\AppData\Roaming\Kingsoft\wps\addons\pool\win-i386\pdfwspv_3.1.0.19020\pdfwspv.dll
进程:C:\Windows\SysWOW64\regsvr32.exe
父进程:D:\WPS Office\12.1.0.21915\office6\ksomisc.exe , (0)
防护信息: RD|53, 1448|10, 10, 10|||
2025-07-11 09:25:43        [自动允许]          修改 系统敏感启动项        防护 2 次
详细描述:
注册表位置:HKEY_CURRENT_USER\Software\Classes\WOW6432NODE\CLSID\{D5A42435-00FB-427E-ADE7-B753DEF2E9D7}\LOCALSERVER32\[]
注册表内容:C:\Users\Administrator\AppData\Roaming\Kingsoft\wps\addons\pool\win-i386\pdfwspv_3.1.0.19020\pdfwspv.dll
进程:C:\Windows\SysWOW64\regsvr32.exe
父进程:D:\WPS Office\12.1.0.21915\office6\ksomisc.exe , (0)
防护信息: RD|53, 800|10, 10, 10|||
2025-07-11 09:25:33        [自动允许]          ui automation模拟点击        防护 1 次
详细描述:
进程:C:\Windows\explorer.exe (1)
动作:UI Automation模拟按键
目标窗口:00070480
目标窗口类:
目标进程:unknown
2025-07-11 09:09:20        [自动允许]          修改 系统运行的重要文件        防护 1 次
详细描述:
进程:C:\Program Files (x86)\Mozilla Maintenance Service\maintenanceservice_tmp.exe
动作:修改
路径:C:\Program Files (x86)\Mozilla Maintenance Service\maintenanceservice.exe
不再提醒(0x68706440)
防护信息: FD|17, 544|10, 10, 10|||
2025-07-11 09:09:17        [自动允许]          修改 系统运行的重要文件        防护 1 次
详细描述:
进程:C:\Program Files\Mozilla Firefox\updater.exe.moz-backup
动作:写入
路径:C:\Program Files\Mozilla Firefox\firefox.exe
不再提醒(0x6870643d)
防护信息: FD|17, 544|10, 10, -1|||
2025-07-11 09:09:16        [自动允许]          修改 系统运行的重要文件        防护 1 次
详细描述:
进程:C:\Program Files\Mozilla Firefox\updater.exe.moz-backup
动作:写入
路径:C:\Program Files\Mozilla Firefox\mozwer.dll
不再提醒(0x6870643c)
防护信息: FD|17, 544|10, 10, -1|||
2025-07-11 09:08:29        [自动允许]          驱动加载        防护 2 次
详细描述:
进程:C:\WINDOWS\System32\services.exe
动作:驱动加载
路径:C:\WINDOWS\System32\drivers\360disproc64.sys
2025-07-11 08:27:54        [自动允许]          ui automation模拟点击        防护 1 次
详细描述:
进程:C:\Windows\explorer.exe (1)
动作:UI Automation模拟按键
目标窗口:00040668
目标窗口类:
目标进程:unknown
2025-07-10 14:43:35        [自动允许]          修改 系统关键设置        防护 1 次
详细描述:
注册表位置:HKEY_LOCAL_MACHINE\SAM\SAM\DOMAINS\ACCOUNT\USERS\000001F4\[F]
注册表内容:02 00 01 00 00 00 00 00 F8 A9 F8 F5 65 F1 DB 01 00 00 00 00 00 00 00 00 9A F8 D3 E0 42 19 DA 01 00 00 00 00 00 00 00 00 03 B3 DD 49 2B F1 DB 01 F4 01 00 00 01 02 00 00 10 02 00 00 00 00 00 00 00 00 65 11 01 00 00 00 00 00 00 00 00 00 00 00
进程:C:\WINDOWS\System32\lsass.exe
父进程: , (0)
防护信息: RD|80, 1158|-1, 10, -1|||
2025-07-10 14:14:38        [自动允许]          驱动加载        防护 2 次
详细描述:
进程:C:\WINDOWS\System32\services.exe
动作:驱动加载
路径:C:\WINDOWS\System32\drivers\360disproc64.sys
2025-07-10 14:05:54        [自动允许]          修改 系统关键设置        防护 1 次
详细描述:
注册表位置:HKEY_LOCAL_MACHINE\SAM\SAM\DOMAINS\ACCOUNT\USERS\000001F4\[F]
注册表内容:02 00 01 00 00 00 00 00 A1 25 68 B2 60 F1 DB 01 00 00 00 00 00 00 00 00 9A F8 D3 E0 42 19 DA 01 00 00 00 00 00 00 00 00 03 B3 DD 49 2B F1 DB 01 F4 01 00 00 01 02 00 00 10 02 00 00 00 00 00 00 00 00 64 11 01 00 00 00 00 00 00 00 00 00 00 00
进程:C:\WINDOWS\System32\lsass.exe
父进程: , (0)
防护信息: RD|80, 1158|-1, 10, -1|||
2025-07-10 12:12:43        [自动允许]          修改 系统关键设置        防护 1 次
详细描述:
注册表位置:HKEY_LOCAL_MACHINE\SAM\SAM\DOMAINS\ACCOUNT\USERS\000001F4\[F]
注册表内容:02 00 01 00 00 00 00 00 76 40 B3 E2 50 F1 DB 01 00 00 00 00 00 00 00 00 9A F8 D3 E0 42 19 DA 01 00 00 00 00 00 00 00 00 03 B3 DD 49 2B F1 DB 01 F4 01 00 00 01 02 00 00 10 02 00 00 00 00 00 00 00 00 63 11 01 00 00 00 00 00 00 00 00 00 00 00
进程:C:\WINDOWS\System32\lsass.exe
父进程: , (0)
防护信息: RD|80, 1158|-1, 10, -1|||
2025-07-10 11:50:28        [自动允许]          修改 系统关键设置        防护 1 次
详细描述:
注册表位置:HKEY_LOCAL_MACHINE\SAM\SAM\DOMAINS\ACCOUNT\USERS\000001F4\[F]
注册表内容:02 00 01 00 00 00 00 00 8E BE C6 C6 4D F1 DB 01 00 00 00 00 00 00 00 00 9A F8 D3 E0 42 19 DA 01 00 00 00 00 00 00 00 00 03 B3 DD 49 2B F1 DB 01 F4 01 00 00 01 02 00 00 10 02 00 00 00 00 00 00 00 00 62 11 01 00 00 00 00 00 00 00 00 00 00 00
进程:C:\WINDOWS\System32\lsass.exe
父进程: , (0)
防护信息: RD|80, 1158|-1, 10, -1|||
2025-07-10 10:08:42        [自动允许]          ui automation模拟点击        防护 1 次
详细描述:
进程:C:\Windows\explorer.exe (1)
动作:UI Automation模拟按键
目标窗口:0005075c
目标窗口类:
目标进程:unknown
2025-07-10 10:07:48        [自动允许]          修改 系统敏感启动项        防护 2 次
详细描述:
注册表位置:HKEY_LOCAL_MACHINE\SOFTWARE\CLASSES\WOW6432NODE\CLSID\{D7AC9243-9D84-4498-8192-D7AD263B63C8}\INPROCSERVER32\[]
注册表内容:C:\Users\Administrator\AppData\Roaming\Kingsoft\wps\addons\pool\win-i386\pdfwspv_3.1.0.19020\pdfwspv.dll
进程:C:\Windows\SysWOW64\regsvr32.exe
父进程:D:\WPS Office\12.1.0.21915\office6\ksomisc.exe , (0)
防护信息: RD|53, 1447|10, 10, 10|||
2025-07-10 10:07:48        [自动允许]          修改 系统敏感启动项        防护 2 次
详细描述:
注册表位置:HKEY_CURRENT_USER\Software\Classes\WOW6432NODE\CLSID\{D7AC9243-9D84-4498-8192-D7AD263B63C8}\INPROCSERVER32\[]
注册表内容:C:\Users\Administrator\AppData\Roaming\Kingsoft\wps\addons\pool\win-i386\pdfwspv_3.1.0.19020\pdfwspv.dll
进程:C:\Windows\SysWOW64\regsvr32.exe
父进程:D:\WPS Office\12.1.0.21915\office6\ksomisc.exe , (0)
防护信息: RD|53, 1448|10, 10, 10|||
2025-07-10 10:07:48        [自动允许]          修改 系统敏感启动项        防护 2 次
详细描述:
注册表位置:HKEY_CURRENT_USER\Software\Classes\WOW6432NODE\CLSID\{D5A42435-00FB-427E-ADE7-B753DEF2E9D7}\LOCALSERVER32\[]
注册表内容:C:\Users\Administrator\AppData\Roaming\Kingsoft\wps\addons\pool\win-i386\pdfwspv_3.1.0.19020\pdfwspv.dll
进程:C:\Windows\SysWOW64\regsvr32.exe
父进程:D:\WPS Office\12.1.0.21915\office6\ksomisc.exe , (0)
防护信息: RD|53, 800|10, 10, 10|||
2025-07-10 10:00:04        [自动允许]          ui automation模拟点击        防护 1 次
详细描述:
进程:C:\Windows\explorer.exe (1)
动作:UI Automation模拟按键
目标窗口:001205ea
目标窗口类:
目标进程:unknown
2025-07-10 09:49:52        [自动允许]          修改 系统关键设置        防护 1 次
详细描述:
注册表位置:HKEY_LOCAL_MACHINE\SAM\SAM\DOMAINS\ACCOUNT\USERS\000001F4\[F]
注册表内容:02 00 01 00 00 00 00 00 66 2D 79 ED 3C F1 DB 01 00 00 00 00 00 00 00 00 9A F8 D3 E0 42 19 DA 01 00 00 00 00 00 00 00 00 03 B3 DD 49 2B F1 DB 01 F4 01 00 00 01 02 00 00 10 02 00 00 00 00 00 00 00 00 61 11 01 00 00 00 00 00 00 00 00 00 00 00
进程:C:\WINDOWS\System32\lsass.exe
父进程: , (0)
防护信息: RD|80, 1158|-1, 10, -1|||
2025-07-10 09:14:12        [自动允许]          ui automation模拟点击        防护 1 次
详细描述:
进程:C:\Windows\explorer.exe (1)
动作:UI Automation模拟按键
目标窗口:001a01b2
目标窗口类:
目标进程:unknown
2025-07-10 08:33:30        [自动允许]          ui automation模拟点击        防护 1 次
详细描述:
进程:C:\Windows\explorer.exe (1)
动作:UI Automation模拟按键
目标窗口:00030414
目标窗口类:
目标进程:unknown
2025-07-09 18:02:14        [自动允许]          修改 系统敏感启动项        防护 1 次
详细描述:
注册表位置:HKEY_LOCAL_MACHINE\SOFTWARE\CLASSES\WOW6432NODE\CLSID\{D7AC9243-9D84-4498-8192-D7AD263B63C8}\INPROCSERVER32\[]
注册表内容:C:\Users\Administrator\AppData\Roaming\Kingsoft\wps\addons\pool\win-i386\pdfwspv_3.1.0.19020\pdfwspv.dll
进程:C:\Windows\SysWOW64\regsvr32.exe
父进程:D:\WPS Office\12.1.0.21915\office6\ksomisc.exe , (0)
防护信息: RD|53, 1447|10, 10, 10|||
2025-07-09 18:02:14        [自动允许]          修改 系统敏感启动项        防护 1 次
详细描述:
注册表位置:HKEY_CURRENT_USER\Software\Classes\WOW6432NODE\CLSID\{D7AC9243-9D84-4498-8192-D7AD263B63C8}\INPROCSERVER32\[]
注册表内容:C:\Users\Administrator\AppData\Roaming\Kingsoft\wps\addons\pool\win-i386\pdfwspv_3.1.0.19020\pdfwspv.dll
进程:C:\Windows\SysWOW64\regsvr32.exe
父进程:D:\WPS Office\12.1.0.21915\office6\ksomisc.exe , (0)
防护信息: RD|53, 1448|10, 10, 10|||
2025-07-09 18:02:14        [自动允许]          修改 系统敏感启动项        防护 1 次
详细描述:
注册表位置:HKEY_CURRENT_USER\Software\Classes\WOW6432NODE\CLSID\{D5A42435-00FB-427E-ADE7-B753DEF2E9D7}\LOCALSERVER32\[]
注册表内容:C:\Users\Administrator\AppData\Roaming\Kingsoft\wps\addons\pool\win-i386\pdfwspv_3.1.0.19020\pdfwspv.dll
进程:C:\Windows\SysWOW64\regsvr32.exe
父进程:D:\WPS Office\12.1.0.21915\office6\ksomisc.exe , (0)
防护信息: RD|53, 800|10, 10, 10|||
2025-07-09 17:58:04        [自动允许]          ui automation模拟点击        防护 1 次
详细描述:
进程:C:\Windows\explorer.exe (1)
动作:UI Automation模拟按键
目标窗口:005108f2
目标窗口类:
目标进程:unknown
2025-07-09 17:58:01        [自动允许]          ui automation模拟点击        防护 1 次
详细描述:
进程:C:\Windows\explorer.exe (1)
动作:UI Automation模拟按键
目标窗口:000105b6
目标窗口类:
目标进程:unknown
2025-07-09 17:06:33        [自动允许]          ui automation模拟点击        防护 1 次
详细描述:
进程:C:\Windows\explorer.exe (1)
动作:UI Automation模拟按键
目标窗口:00a6089c
目标窗口类:
目标进程:unknown
2025-07-09 17:05:45        [自动允许]          ui automation模拟点击        防护 1 次
详细描述:
进程:C:\Windows\explorer.exe (1)
动作:UI Automation模拟按键
目标窗口:000d09ea
目标窗口类:
目标进程:unknown
2025-07-09 16:51:19        [自动允许]          ui automation模拟点击        防护 1 次
详细描述:
进程:C:\Windows\explorer.exe (1)
动作:UI Automation模拟按键
目标窗口:001209ee
目标窗口类:
目标进程:unknown
2025-07-09 16:40:35        [自动允许]          驱动加载        防护 4 次
详细描述:
进程:C:\WINDOWS\System32\services.exe
动作:驱动加载
路径:C:\WINDOWS\System32\drivers\360disproc64.sys
2025-07-09 16:26:03        [自动允许]          修改 系统关键设置        防护 1 次
详细描述:
注册表位置:HKEY_LOCAL_MACHINE\SAM\SAM\DOMAINS\ACCOUNT\USERS\000001F4\[F]
注册表内容:02 00 01 00 00 00 00 00 F1 C8 4F 1C AB F0 DB 01 00 00 00 00 00 00 00 00 9A F8 D3 E0 42 19 DA 01 00 00 00 00 00 00 00 00 5F 53 03 15 AB F0 DB 01 F4 01 00 00 01 02 00 00 10 02 00 00 00 00 00 00 00 00 5F 11 01 00 00 00 00 00 00 00 00 00 00 00
进程:C:\WINDOWS\System32\lsass.exe
父进程: , (0)
防护信息: RD|80, 1158|-1, 10, -1|||
2025-07-09 16:25:51        [自动允许]          修改 系统关键设置        防护 1 次
详细描述:
注册表位置:HKEY_LOCAL_MACHINE\SAM\SAM\DOMAINS\ACCOUNT\USERS\000001F4\[F]
注册表内容:02 00 01 00 00 00 00 00 81 E7 4E F4 96 F0 DB 01 00 00 00 00 00 00 00 00 9A F8 D3 E0 42 19 DA 01 00 00 00 00 00 00 00 00 5F 53 03 15 AB F0 DB 01 F4 01 00 00 01 02 00 00 10 02 00 00 00 00 00 00 01 00 5E 11 01 00 00 00 00 00 00 00 00 00 00 00
进程:C:\WINDOWS\System32\lsass.exe
父进程: , (0)
防护信息: RD|80, 1158|-1, 10, -1|||
2025-07-09 14:37:22        [自动允许]          修改 Windows防火墙        防护 1 次
详细描述:
注册表位置:HKEY_LOCAL_MACHINE\SYSTEM\CurrentControlSet\SERVICES\SHAREDACCESS\PARAMETERS\FIREWALLPOLICY\FIREWALLRULES\[{4994BDA0-A43D-48D3-A398-9382A39B49A8}]
注册表内容:v2.30|Action=Allow|Active=TRUE|Dir=In|Protocol=17|Profile=Private|App=C:\Program Files (x86)\360\360Safe\Utils\360UHelper.exe|Name=360UHelper.exe|
进程:C:\WINDOWS\System32\svchost.exe
父进程: , (0)
防护信息: RD|52, 1460|-1, 10, -1|||
2025-07-09 14:37:22        [自动允许]          修改 Windows防火墙        防护 1 次
详细描述:
注册表位置:HKEY_LOCAL_MACHINE\SYSTEM\CurrentControlSet\SERVICES\SHAREDACCESS\PARAMETERS\FIREWALLPOLICY\FIREWALLRULES\[{760FD74E-AC56-4873-8840-C46009EDE244}]
注册表内容:v2.30|Action=Allow|Active=TRUE|Dir=In|Protocol=6|Profile=Private|App=C:\Program Files (x86)\360\360Safe\Utils\360UHelper.exe|Name=360UHelper.exe|
进程:C:\WINDOWS\System32\svchost.exe
父进程: , (0)
防护信息: RD|52, 1460|-1, 10, -1|||
2025-07-09 14:01:47        [自动允许]          修改 系统关键设置        防护 1 次
详细描述:
注册表位置:HKEY_LOCAL_MACHINE\SAM\SAM\DOMAINS\ACCOUNT\USERS\000001F4\[F]
注册表内容:02 00 01 00 00 00 00 00 81 E7 4E F4 96 F0 DB 01 00 00 00 00 00 00 00 00 9A F8 D3 E0 42 19 DA 01 00 00 00 00 00 00 00 00 A9 7A 19 C7 69 F0 DB 01 F4 01 00 00 01 02 00 00 10 02 00 00 00 00 00 00 00 00 5E 11 01 00 00 00 00 00 00 00 00 00 00 00
进程:C:\WINDOWS\System32\lsass.exe
父进程: , (0)
防护信息: RD|80, 1158|-1, 10, -1|||
2025-07-09 12:18:14        [自动允许]          修改 系统关键设置        防护 1 次
详细描述:
注册表位置:HKEY_LOCAL_MACHINE\SAM\SAM\DOMAINS\ACCOUNT\USERS\000001F4\[F]
注册表内容:02 00 01 00 00 00 00 00 0F 82 79 7D 88 F0 DB 01 00 00 00 00 00 00 00 00 9A F8 D3 E0 42 19 DA 01 00 00 00 00 00 00 00 00 A9 7A 19 C7 69 F0 DB 01 F4 01 00 00 01 02 00 00 10 02 00 00 00 00 00 00 00 00 5D 11 01 00 00 00 00 00 00 00 00 00 00 00
进程:C:\WINDOWS\System32\lsass.exe
父进程: , (0)
防护信息: RD|80, 1158|-1, 10, -1|||
2025-07-09 12:10:57        [自动允许]          ui automation模拟点击        防护 1 次
详细描述:
进程:C:\Windows\explorer.exe (1)
动作:UI Automation模拟按键
目标窗口:00cd0450
目标窗口类:
目标进程:unknown
2025-07-09 12:10:20        [已阻止]          拦截截屏操作        防护 1 次
详细描述:
进程:D:\WeChat\WeChat.exe
动作:拦截截屏操作
路径:
防护信息: AD|102, 1153|10, -1, -1||
2025-07-09 11:43:30        [已阻止]          拦截模拟键盘        防护 1 次
详细描述:
进程:C:\Users\Administrator\AppData\Roaming\Tencent\WeChat\XPlugin\Plugins\RadiumWMPF\14185\extracted\runtime\WeChatAppEx.exe
动作:拦截模拟键盘
路径:
防护信息: AD|103, 1157|10, -1, -1||
leo0205 产品答疑师 您好,如果评估是恶意软件的会自动给您阻止,如果是系统在白的文件,会自动给您允许的 
2025-7-15 09:58回复

IP属地: 未知

您需要登录后才可以回帖 登录 | 注册

本版积分规则

渔舟唱晚一片荷 LV2.下士

粉丝:0 关注:0 积分:28

精华:0 金币:55 经验:24

IP属地: 山东省

最后登录时间:2025-8-28

私信 加好友

最新活动

【360文库创作大赛开启】参赛赢大疆Pocket3

排行榜

热度排行 查看排行
本月
    本月

      扫码添加360客服号,涨知识的同时还有超多福利等你哦

      快速回复 返回顶部 返回列表