请使用手机微信扫码安全登录

切换账号密码登录

绑定手机号

应国家法规对于账号实名的要求,请您在进行下一步操作前,需要先完成手机绑定 (若绑定失败,请重新登录绑定)。了解更多

不绑定绑定手机号

360官网 | 360商城

推荐论坛版块360粉丝商城360用户活动常见问题

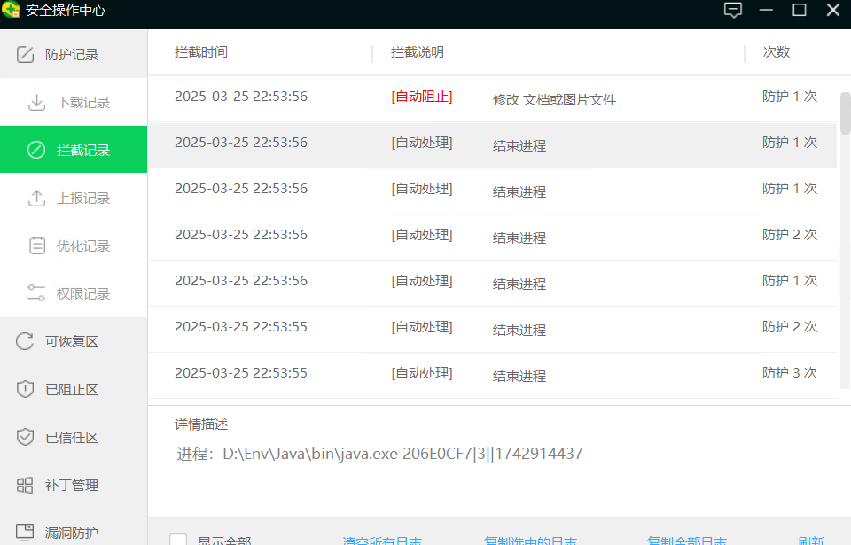
关于360日志

2025-3-25 23:19 | 复制链接
1 1129
这个结束进程,是360安全中心结束的吗?还是有第三方程序要结束进程被360安全中心进行处理?

360社区

360社区

共 1 个关于关于360日志的回复 最后回复于 2025-3-26 11:21

评论

直达楼层

leo0205 产品答疑师 发表于 2025-3-26 11:21 | 显示全部楼层 | 私信

IP属地: 未知

您好,您加下我的微信,我帮您看下

360社区

360社区

您需要登录后才可以回帖 登录 | 注册

本版积分规则

小影哟 LV4.上士

粉丝:5 关注:0 积分:872

精华:0 金币:2073 经验:823

IP属地: 局域网

最后登录时间:2025-9-13

私信 加好友

最新活动

360「因AI相聚」感恩用户节盛大开启,VR眼

排行榜

热度排行 查看排行
本月
    本月

      扫码添加360客服号,涨知识的同时还有超多福利等你哦

      快速回复 返回顶部 返回列表